发明人:Edwin V. Gray,Sr.
当前美国分类:315/330;313/601;313/602;313/604;315/261;315/335.
国际分类:H01J 1104;H01J 1348;H05B 3700;H05B 3900.
专利号:4661747
提交日期:1985年10月25日
发行日期:1987年4月28日
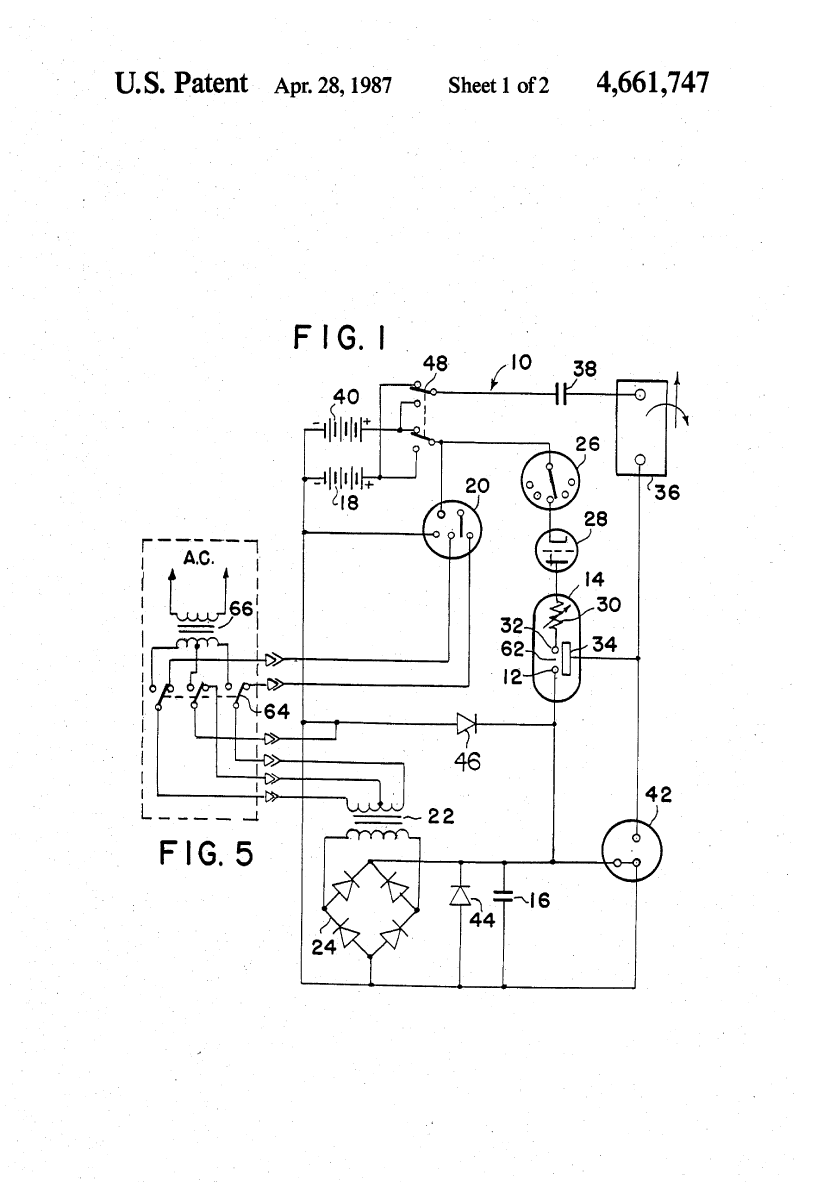
公开了一种用于高频环境的电驱动和恢复系统。恢复系统可以应用于驱动当今的直流或交流负载以获得更好的效率。它具有耦合到振动器,变压器和桥式整流器的低压源,以向第一电容提供高压脉动信号。在其他可用高压源的情况下,它可以直接耦合到桥式整流器,使脉动信号引起第一电容器。第一电容又耦合到电转换开关元件管的高压阳极。开关元件管还包括低电压阳极,该低电压阳极通过换向器和开关元件管连接到电压源。围绕高压阳极安装电荷接收板,该电荷接收板耦合到电感负载以将从开关元管传输到负载的高压放电。也联系在......
索赔
1.一种电气转换开关元件管,包括:
- 封闭的绝缘外壳(50);
- 第一低压阳极(32)内部安装到所述壳体上并在内部延伸到放电区域(62),所述第一阳极适于连接到壳体外部的电压源;
- 第二高压阳极(12)内部安装到所述壳体上并在内部延伸到所述放电区域(62),所述第二阳极也适于连接到壳体外部的电压源;
- 导电装置(34b)在内侧定位在所述壳体内并围绕所述第二阳极围绕所述第二阳极延伸,同时直接暴露在其上但不导电地连接到其上,而是当触发放电电流时,从其线上间隔开来接收来自第二阳极的静电电荷所述第一和第二阳极之间的所述放电区域,所述电荷接收导电装置也在内部安装到所述壳体上;和
- 输出端子(60)与所述电荷接收导电装置连通,所述端子适于连接到所述壳体外部的电感负载。
2.如权利要求1所述的电转换开关元件管,包括与所述第一阳极串联的电阻元件(30)。
3.如权利要求1所述的电转换开关元件管,其中:
所述电荷接收导电装置是管状的。
4.如权利要求3所述的电气转换开关元件管,包括
第二管状电荷接收导电装置(34a),其周向地定位在接收导电装置的所述第一电荷上。























